
Two glass blocks of triangular cross section ($n = 1.5$) are used to make a periscope. Which of the following is the correct arrangement?
a)
b)
c)
d)
Answer
507k+ views
Hint:A periscope runs on the Reflection Laws, which says that the light from the object comes on one mirror at a $45-$degree angle from the object and is reflected. Then, this reflected light falls on a different mirror and is again reflected until it arrives in the human eye.
Complete step-by-step solution:
Given: Refractive index of glass, $n = 1.5$
We will use the formula of critical angle and refractive index.
$sin \theta = \dfrac{1}{n}$
where, $\theta$ is the critical angle.
n is the refractive index.
Put $n = 1.5$ in the above formula.
$sin \theta = \dfrac{1}{1.5}$
$\implies sin \theta = \dfrac{2}{3}$
$\implies \theta = sin^{-1}\dfrac{2}{3}$
$\implies \theta = 41.3^{\circ}$
If the angle of incidence is greater than the critical angle, the ray will get reflected back from the surface.
The angle of incidence is greater than $41.3^{\circ}$ for the ray to get reflected from the surface.
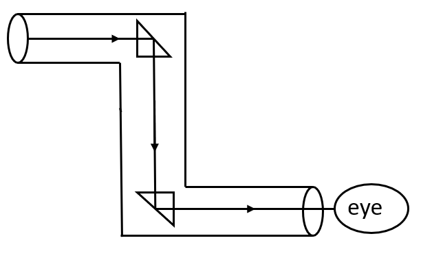
Fourth arrangement will be perfect for this condition.
First, the light will fall on the primary triangular glass, then it will be reflected from the surface, then fall on another glass, and then again it will reflect and then reach the eye.
Option (d) is correct.
Note:A periscope is a visual instrument that permits objects that are not in a direct line of sight to be observed. Periscopes have shown to be of great help to submariners by permitting these professions to view over the surface of water and aid navigation underwater.
Complete step-by-step solution:
Given: Refractive index of glass, $n = 1.5$
We will use the formula of critical angle and refractive index.
$sin \theta = \dfrac{1}{n}$
where, $\theta$ is the critical angle.
n is the refractive index.
Put $n = 1.5$ in the above formula.
$sin \theta = \dfrac{1}{1.5}$
$\implies sin \theta = \dfrac{2}{3}$
$\implies \theta = sin^{-1}\dfrac{2}{3}$
$\implies \theta = 41.3^{\circ}$
If the angle of incidence is greater than the critical angle, the ray will get reflected back from the surface.
The angle of incidence is greater than $41.3^{\circ}$ for the ray to get reflected from the surface.
Fourth arrangement will be perfect for this condition.
First, the light will fall on the primary triangular glass, then it will be reflected from the surface, then fall on another glass, and then again it will reflect and then reach the eye.
Option (d) is correct.
Note:A periscope is a visual instrument that permits objects that are not in a direct line of sight to be observed. Periscopes have shown to be of great help to submariners by permitting these professions to view over the surface of water and aid navigation underwater.
Recently Updated Pages
Master Class 12 Economics: Engaging Questions & Answers for Success

Master Class 12 Physics: Engaging Questions & Answers for Success

Master Class 12 English: Engaging Questions & Answers for Success

Master Class 12 Social Science: Engaging Questions & Answers for Success

Master Class 12 Maths: Engaging Questions & Answers for Success

Master Class 12 Business Studies: Engaging Questions & Answers for Success

Trending doubts
Which are the Top 10 Largest Countries of the World?

What are the major means of transport Explain each class 12 social science CBSE

Draw a labelled sketch of the human eye class 12 physics CBSE

Why cannot DNA pass through cell membranes class 12 biology CBSE

Differentiate between insitu conservation and exsitu class 12 biology CBSE

Draw a neat and well labeled diagram of TS of ovary class 12 biology CBSE

